微量粉体振动给料装置PTS520-CN1

微量粉体振动给料装置PTS520-CN1



Fortico品牌微量粉体振动给料装置PTS520-CN1 是一款根据锂电行业技术要求,研发推出的一套非标系列产品。

该设备可选配国外进口电磁振动给料机作为核心动力原件,搭载了知名称重企业技术团队Fortico的动态称重控制器,通过实时调节振动机、控流阀、变频器等各种执行机构的运行速度来控制喂料流量,以达到恒微流量给料的状态。由于振动给料过程中不会破坏原物料的料性,所以广泛地运用于特种材料、锂电行业、芯片制造、特种化工等连续喂料生产线上。

微量粉体振动给料装置,不仅可以提高料的准确性、稳定性及可靠性,并且能够大幅提升工厂的运营效率,减轻操作工人的劳动强度,为企业创造更多的经济效益与社会效益,彻底颠覆了传统的手工配料模式,在配料发展史上具有深远的里程碑意义。

设备型号

料仓容积/容重

显示分度值

出料槽宽度

小分度数

材质(接触物料部分)

设备总重

PTS520-CN1

40L/13kg

2g

520mm

0.5g

304不锈钢

110kg


1.1.工作环境要求

1.1.1.安装位置:室内

1.1.2.温度范围:20℃

1.1.3.相对湿度:< 20%(无凝露)

1.2.公用工程

1.2.1.电源:电压:220V(±7%)频率:50Hz

1.2.2.气源:洁净、干燥的仪表风,压力:(0.4~0.6)MPa(在0.7MPa压力下)

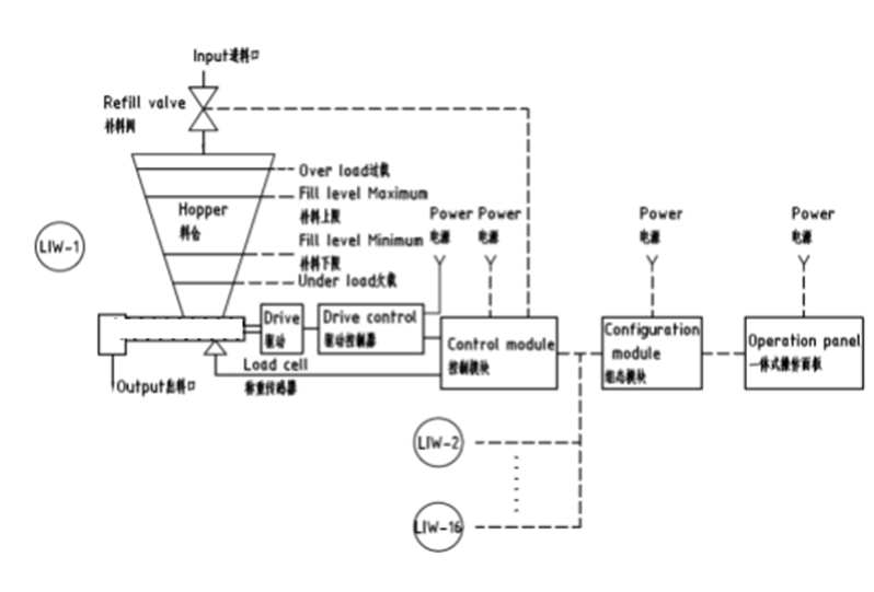
3. 微量粉末给料装置组成、工作原理及各部件介绍

给料装置主要由料仓、驱动及给料槽、控流系统、称重传感器及仪表、补料阀(选配)、驱动控制器、控制模块等组成。

工作原理:利用高精度称重传感器组成的非标准称台,用于实时测量料仓中物料的重量,当物料通过驱动及出料装置从物料出口排出时其重量将会减少,控制模块会将单位时间里重量减少的量跟所设定的单位时间里需要下料的量进行比较并调节驱动控制器使其保持一致,以达到[敏感词]恒定喂料的目的。
微信截图_20220817145718.png 微信截图_20220817145735.png


微信截图_20220817145748.png


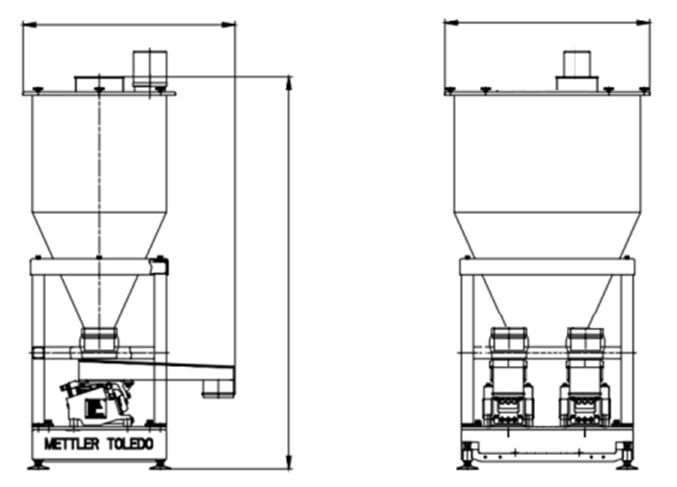
3.1.料仓

料仓用于装载物料,上面用软连接接补料阀(选配),[敏感词]连接出料装置。

3.2.驱动及出料装置

振动驱动机及出料装置用于出料、连接料仓及下游设备。

出料装置与下游设备的连接必须使用软连接,不同的物料有不同的出料装置。

3.3.称重单元

称重单元有两部分组成,受力机构与称重传感器。针对不同的振动机,需要根据不同的精度及称量范围选择与之相匹配的称重传感器与定制ETO称台。旨在解决,精度与振动扰动的的根本性问题。

称重传感器属精密电子器件,受到的外力超过其安全过载值可能会[敏感词]性损坏,所以在运输、安装、维护、清理喂料器时必须装上传感器的限位保护装置,以保护传感器不被损坏。

3.4.  补料阀(选配)

补料阀用于对失重秤料仓的补料进行控制,根据物料的不同,可以选择蝶阀,球阀,插板阀等。

失重秤控制模块会根据称重料位向上游补料阀发送阀门开闭信号,当料仓内物料达到补料下限时,控制器会发出阀门开启信号,当物料达到补料上限时,控制器会发出阀门关闭信号,并配置关到位开关。

3.5.驱动控制器

驱动控制器用于控制驱动的喂料速度,根据不同的驱动装置,主要有变频器等。

1.4.补料阀(选配)本项目不合适

补料阀用于对失重秤料仓的补料进行控制,根据物料的不同,可以选择蝶阀,球阀,插板阀等。

失重秤控制模块会根据称重料位向上游补料阀发送阀门开闭信号,当料仓内物料达到补料下限时,控制器会发出阀门开启信号,当物料达到补料上限时,控制器会发出阀门关闭信号,并配置关到位开关。

1.5.驱动控制器

驱动控制器用于控制驱动的喂料速度,根据不同的驱动装置,主要有变频器等。

>
TOP